产品目录
推荐文章
- 牙科治疗机压力损失测试仪
- 口腔灯阴影测试工装
- 制备吸水性和溶解性试样的不锈钢模具和盖子
- 拉伸粘接强度试验装置-活动义齿软衬材料
- 制样的对开模具-弹性回复和压应变试验
- 细节再现和与石膏的配伍性试验组件
- 周边有孔环形模具及其附件环形模具固位座、细节再现性试验--试样成形附件
- 带孔的黄铜模具-装盒塑性试验用带孔的黄铜模具
- 牙科学石膏产品线固化膨胀伸长仪——三角形截面槽
- 细节再现工装、细节再现器具、划线试验块
联系我们
联系人:王经理
联系电话:13120992305
客服QQ:1552956819
公司地址:上海市松江区洞泾镇长兴东路1586号
产品详情
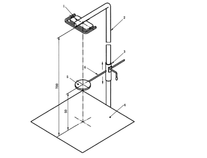
口腔灯阴影测试工装
执行标准:
YY/T 1120-2021中7.3.8
技术参数
圆盘直径:φ 20mm 厚:1mm
距离测量屏:50mm                                               
测量屏:带直角坐标系                    
光源距屏:700mm     
工装包含柱、调节用滑动环、测试屏、杆

配置清单
工装一套,合格证一份,铭牌一份。

本文地址:/pdetail/2700.html
- 上一篇: 制备吸水性和溶解性试样的不锈钢模具和盖子
- 下一篇: 牙科治疗机压力损失测试仪
相关文章
-
2026-04-09
牙科治疗机压力损失测试仪符合标准:YY/···
-
2026-04-09
口腔灯阴影测试工装执行标准:YY/T ···
-
2026-04-09
CSI-Z600制备吸水性和溶解性试样的···
-
2026-04-09
拉伸粘接强度试验装置-活动义齿软衬材料一···
-
2026-04-09
制样的对开模具-弹性回复和压应变试验执行···
-
2026-04-09
细节再现和与石膏的配伍性试验组件执行标···
-
2026-04-09
周边有孔环形模具及其附件环形模具固位座/···
-
2026-04-09
带孔的黄铜模具-装盒塑性试验用带孔的黄铜···
-
2026-04-09
牙科学石膏产品线固化膨胀伸长仪-三角形截···
-
2026-04-08
细节再现工装-细节再现器具-划线试验块&···
13120992305


